作者:admin 发布时间:2022-12-08 17:00:14 分类:头条 浏览:426 评论:0

雷递网 雷建平 12月8日
多点数智有限公司(简称:“多点数智”)日前递交招股书,准备在港交所上市。
年亏损超9亿
多点DMALL成立于2015年,为本地零售业提供基于云的一站式端到端的数字零售SaaS平台。
多点DMALL提供的服务包括零售核心服务云、电子商务服务云以及营销及广告服务云,可以增强零售商及品牌商的运营、营销及销售能力,使其能够更好地服务终端消费者。

其中,零售核心服务云解决方案以DmallOS系统软件及智能物联(AIoT)解决方案为基础,是一个可以提供贯穿零售运营全流程数据洞察,并提供可实操的改进措施的综合性平台。多点DMALL已经实现了三种云之间的协同效应,可以为零售商提供便捷的一站式解决方案。
多点DMALL已与物美、麦德龙、重庆百货、银川新华及DFIRetail Group合作,并已实现快速扩张,和包括连锁超市、仓储式超市、百货商店、便利店、专业零售商及新零售业态的不同零售业态的客户合作。
招股书显示,多点DMALL在2019年、2020年、2021年营收分别为2.65亿元、4.87亿元、10.45亿元;毛利分别为-1.26亿元、3656万元、3.58亿元;

多点DMALL在2019年、2020年、2021年经营亏损分别为8.07亿元、9.94亿元、10.87亿元;期内亏损分别为8.3亿元、10.9亿元、18.25亿元。
多点DMALL在2022年前9个月营收为11亿元,上年同期的营收为7.33亿元;毛利为4.59亿元,上年同期的毛利为2.63亿元;
多点DMALL在2022年前9个月来自零售核心服务云收入为6.4亿元,占营收比例为58.1%;来自电子商务服务云营收为3.36亿元,占营收比例为30.5%;来自营销及广告服务云营收为1.26亿元,占营收比例为11.4%。

多点DMALL在2022年前9个月经营亏损为2.48亿元,上年同期的经营亏损为7.26亿元;期内亏损为4.8亿元,上年同期的期内亏损为14.69亿元。
多点DMALL在2019年、2020年、2021年经调整净亏损分别为8.16亿元、10亿元、9.32亿元;多点DMALL在2022年前9个月经调整净亏损为3.47亿元,上年同期的经调整净亏损为7亿元。

截至2022年9月30日,多点DMALL持有的现金及现金等价物为5亿元,上年同期为3.24亿元。
C+轮投后估值达30.5亿美元
多点DMALL执行董事为张峰,非执行董事分别为CurtisAlan FERGUSON(冯广晟)、张康融女士、孙宇含女士、陈志宇、王正浩;独立非执行董事为王航、毛基业、李维。

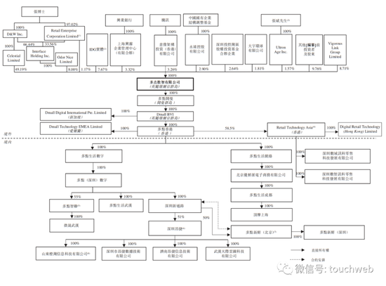
多点DMALL股东包括兴业银行、中国国有企业结构调整基金、恒安珍宝投资有限公司、深圳投控湾区股权投资基金合伙企业、金蝶、联想、深圳市福田引导基金投资有限公司、民生商银国际控股有限公司、信银(香港)投资有限公司、腾讯、IDG资本等众多机构。
多点DMALL成立以来获得过多次融资,其中,2017年5月获得1.06亿美元融资,每股成本为1美元,投后估值为6.06亿美元;
多点DMALL在2018年到2019年先后完成B系列轮融资,其中,2018年9月募资8000万美元B轮融资,2019年4月再次募资5050万美元B+轮融资,每股成本均为1.98美元,第二次后投后估值为13.3亿美元;多点DMALL在2019年再次完成B++轮4600万美元融资,每股成本2.5美元,投后估值17.26亿美元。

多点DMALL在2020年8月3.7亿美元C轮融资,每股成本为2.8美元,投后估值为23亿美元;2021年10月再次完成5180万美元C+轮融资,每股成本为3.88美元,投后估值达30.52亿美元。
腾讯与IDG、金蝶是股东
IPO前,CelestialLimited(由创始人张文中博士控制)持有多点DMALL已发行股份的49.19%;Odor Nice Limited(由创始人张博士控制)持有公司已发行股份的8%;Retail Enterprise Corporation Limited(由创始人张博士控制)持有公司已发行股份的1.17%;

张文中为物美创始人,多点DMALL创始人。张文中1994年创办物美超市。2006年,是物美发展的最好时期。也是在这一年,张文中被带走调查,这一走就是7年。2018年5月31日,法院宣判张文中无罪,物美集团无罪,原审判决已执行的罚金及追缴的财产依法予以返还,其12年的冤案彻底平反。

张文中曾在物美招股书中发表了《人生跌宕:创业,冤狱,再出发》的公开信,称“尽管身陷囹圄,但我始终坚信,正义终将到来!我不会因为自己坚守道德和诚信、不违背做人的底线而后悔。我坚信自己无罪,始终坚持上诉、申诉。在狱中,面壁、劳动、读书、思考,使我的精神世界走向平静和充实。寒冬里刺骨的冷水浴,让我的意志更加坚强。”
张文中说,只要一有机会,就鼓励物美团队,一定要坚信困难是暂时的,企业会更好。经历风雨,其依然是个乐观主义者,是个积极的奋斗者。“满足消费者对更美好生活的追求,是我作为企业家的初心;用数字化推动零售产业变革,是物美的使命和追求。心中有春天,人生就充满阳光。我再次出发。”
VigorousLink Group Limited持有多点DMALL已发行股份的8.71%。Vigorous Link GroupLimited为由信托全资拥有的公司,该信托为集团若干董事、高管及僱员的利益持有股份;根据相关信托安排,行使其持有的所有股份所附投票权由董事会最终指示及控制。

此外,IDG持股为7.67%,兴业银行持股为3.32%,腾讯持股为3.26%,中国国有企业结构调整基金通过永禄控股有限公司持股为2.9%,深圳投控湾区股权投资基金合伙企业持股为2.64%,大宇环球有限公司持股为1.81%,张斌持股为1.57%,张斌为张文中的兄弟。
恒安珍宝投资有限公司持股1%,上海兴雾企业管理中心(有限合伙)持股3.32%,CCCAxiomLimited持股0.59%,金蝶软件持股0.95%,Yun hui Limited持股1%,锅圈企业咨询(上海)有限公司持股0.83%。