作者:admin 发布时间:2023-02-22 22:10:56 分类:头条 浏览:363 评论:0
炒股就看金麒麟分析师研报,权威,专业,及时,全面,助您挖掘潜力主题机会!
来源:深燃
文| 黎明
危机正像潮水一样涌向威马汽车。
今年以来,威马先后经历员工降薪潮、经销商关店潮、零部件断供潮、供应商起诉潮,每一次浪潮拍打在威马身上,产生的连锁反应就像倒下的多米诺骨牌。
外界对威马掉队早已有所感知,如今大家关心的是,它是否还能活下去。
多次降薪后,大批员工离开威马。一位接触过威马员工的猎头对深燃说,去年降薪,差不多人人工资打对折。“威马的人我去年都挖完了。”他说。
经销商与威马的矛盾日渐激化。新车卖不动,占用库存,车款支付后威马迟迟不发车。这导致一些门店选择退网,改换门头卖起了其他品牌的车。

零部件断供让车主苦不堪言。一位威马车主对深燃说,前段时间车出了故障,4S店说缺少配件,不知道什么时候能修好,因为厂家停产不给配发。
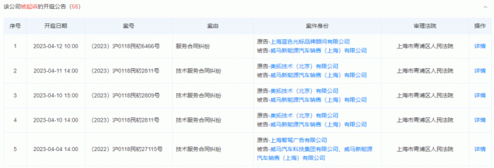
越来越多的合作伙伴将威马告上法庭。据深燃不完全统计,仅威马新能源汽车销售(上海)有限公司,从今年2月起要以被告身份参加的诉讼就有30多起,开庭公告已经排到4月中旬。原告包括多家广告公司、技术服务公司、汽车零部件公司等。
大家害怕威马突然倒下,而自己的钱还没要回来,于是纷纷申请财产保全,冻结威马的资产。
威马的流动资金已经捉襟见肘,要在短期内获得新融资并不容易。去年威马向港交所递交IPO申请,至今没有下文。现在,威马正筹划通过港股上市公司Apollo出行借壳上市,但仍存在很大不确定性。
“现在只有白衣骑士才能救威马,但前提是这得是一匹‘好马’。”一位业内人士点评。
谁来拯救威马汽车?成了2023年造车圈第一个棘手难题。
威马要走出困境,最急缺的是资金,能快速获得资金最直接的方法,是上市。但在上市这件事上,威马走得并不顺利。
去年5月底提交上市招股书后,威马狠冲了一把销量,试图给资本市场留下一个好印象。当时威马的月销量只有两三千台,提交招股书的次月迅速提升至4000台,随后的7月和8月均维持在4500台以上,似乎形势一片大好。
然而这股劲只维持了三个月,就急转直下。到了12月,威马的月销量已跌至两位数。

在威马一鼓作气冲业绩这期间,港交所并没有通过它的IPO申请。相反,另一家造车新势力零跑汽车,抢先一步在9月底成功IPO。
为了上市,威马聘请了三家券商作为联席保荐人——海通国际、招银国际、中银国际。其中一家券商的内部人士徐凯通对深燃说,威马没有走完港交所的IPO流程,上市申请在去年12月初已经失效了。港股新上市申请的有效期是6个月,过期后就得重新申请。
据他介绍,港股IPO在准备申请材料时,需要对公司的债务情况进行详细说明,证明公司经营的可持续性。“威马可能面临一些债务问题。从经营可持续性上来说,不是很乐观。”
威马的债务压力很大。过去几年威马的发展,一直是“股权融资+债权融资”双管齐下的策略。外界对威马数百亿的股权融资津津乐道,却忽视了其债务融资的风险问题。
根据威马披露的招股书,去年3月底,威马的账上有66.7亿元的长期借款,22.8亿元的短期借款,合计外债90亿元。4月,威马又向银行借了两笔贷款,合计10亿元,两年之内需要归还。

如今已经过去快一年,这些债务会陆续到期。而在这一年里,威马既没有实现上市融资,也没有获得新的股权融资。其收入还在减少,去年只卖了不到3万台车,加起来入账收入只有30多亿元,最后一结算发现还是亏损,继续消耗现金流。
如果不能上市融资,威马只能借新债还旧债。事实上去年威马一直在想办法继续借债,它在5月从雅居乐获得15亿港元贷款,12月又从澳门一家商业银行和深圳正威实业公司分别获得2.5亿港元、5亿元人民币贷款。
这两个时间点很微妙。5月正是威马冲刺港交所IPO的时候,12月上市失败。这说明威马的现金流已经非常紧张。这几笔贷款可在今年底之前提取,目前尚不知道威马已经提取了多少。
在IPO失败之后,威马迅速启动借壳上市。它在今年1月跟香港上市公司Apollo出行达成协议,要用反向收购的方式,把威马打包进上市公司体系里,“曲线上市”。
徐凯通对深燃说,威马撇开上市保荐商去找其他的财务顾问,这在之前并不多见。
“正常的IPO是一个耗时比较长的事情,威马的现金流支撑不了这么久。在业务和财务上,监管部门的提问都比较难回答,所以他们选了借壳这种方式。”徐凯通分析。
不论是正常IPO,还是借壳上市,都是威马自救的手段,而且是目前唯一切实可行的手段。
之前威马在一级市场获得股权融资,投资机构都希望威马能上市,这样才有退出渠道。而且很多投资机构与威马签了对赌协议,如果威马没法上市,投资人可以将股权转换成债权,威马要连本带利归还。一旦触发赎回,威马的现金流就更加危险。
“威马现在的困境是,原来的投资人无法安全地退出,就不会有新的投资人感兴趣,就很难再融资。即便是正常上市之后,会不会有足够的投资者来认购,也是一个问题。”徐凯通说。
上市,威马无路可退。
沈晖一手创办了威马,在他带领威马冲刺上市时,遭遇了前东家的精准狙击。
吉利集团与威马的知识产权纠纷官司,已经打了快五年,如今进入最关键的阶段。
去年9月,也就是威马递交招股书四个月之时,上海市高级人民法院下发一审判决书,认定威马EX5车型上的5个汽车零部件图纸相关信息均属于吉利,威马需赔偿吉利人民币700万元。
这5个零部件包括前稳定杆总成、后桥总成安装支架、前悬左下摆臂、前稳定杆左趁套、后桥总成,均为汽车底盘零部件。一审判决要求威马全部停用。
短期内找到零件的替代品并不容易,这会对威马的新车生产造成影响,而EX5是威马的主力车型。在法院判决下达后,威马EX5的月销量从600多台暴跌至100多台,随后两个月跌至个位数。威马在招股书中说,正在逐步更换淘汰诉讼案件涉及到的技术方案或专利,预计2022年底或2023年中完成。
吉利起诉威马,这是中国汽车行业首例知识产权侵权案,也是索赔金额最高的诉讼案。从2019年开始,吉利在多家法院将威马旗下多家公司、多位员工告上法庭,认为威马侵犯了吉利商业秘密,主张拥有威马所持27项专利的所有权,索赔21亿元。
这场官司一直打到现在都还没有结束。一审判决后,威马已经提起上诉。
诉讼暴露的不只是威马的专利问题,还有产品研发的致命短板。研发能力跟不上,是威马陷入被动局面的一个重要原因。
在创办威马之前,沈晖曾任吉利集团副总裁,他在汽车行业的经验、资源、人脉,基本都是在吉利工作期间积累完成。当他创业时,他在吉利的很多同事、下属选择加入他的团队。
侯海靖是威马联合创始人,也曾担任吉利集团副总裁。不过跟沈晖擅长资源整合、操作并购交易不同,侯海靖擅长制造和研发。他在吉利还担任成都分公司总经理,负责吉利SUV车型GX7部分开发量产工作。
2016年,侯海靖加入威马汽车,一批吉利研发人员集体跳槽。按照吉利的说法,这批人在离职时带走了吉利SUV车型GX7的全部资料,但威马方面表示否认。这是吉利后来起诉威马侵犯商业秘密的由头。
一位汽车行业猎头对深燃说,“威马的成都研发中心设在吉利工厂附近,当年挖了不少吉利的人。”
有了一些“基础”,威马尽管能快速上马,但也为日后的新车开发、研发迭代,甚至产品质量埋下了隐患。
生产纯电动车,产品平台非常重要。我们嘲笑BBA做电动车是油改电,本质上吐槽的是产品平台。威马的首款车EX5,是基于威马的第一代产品平台,这个平台在早期“借鉴”了吉利的底子,有人认为威马EX5是从吉利的燃油车型改装而来。

一个值得关注的点是,很多车主吐槽威马EX5存在漏风问题。一位北京的威马EX5车主对深燃说,他在2020年买入,日常家用,车最大的问题就是漏风。“风从脚底下灌进来,具体不知道是哪里,冬天特别明显。”他跟4S店沟通过,对方说没有问题。
他不知道的是,燃油车产品零部件数量多,尤其是底盘,会预留安装空洞,如果是从燃油车平台改电动车,车辆底部需要重新密封。如果密封没做好,底盘就会漏风。
威马也曾想过再研发一个电动汽车专用平台。但新平台的研发门槛高,对资金、技术、人才各方面都提出更高要求,威马一直没有下定决心投入。
一位熟悉威马的人士对深燃说,早年威马在资金宽裕的时候,把钱拿去建厂、买生产资质,资金被各种固定资产占用,导致无法持续投入研发。
2019年,威马的研发开支是8.9亿元,2020年为9.9亿元,2021年下降至9.8亿元。在其他造车新势力研发费用逐年大幅增高的对比下,威马显得特立独行。
二代产品平台缺位,一代平台又存在专利纠纷,导致威马的车竞争力不强。2020年威马EX5集中发生多起自燃事件,2021年和2022年,威马又发生其他起火事故。
即便是威马重磅打造的全新车型M7,实际上也跟其他车型一样来自第一代产品平台,这款车原本计划去年下半年上市交付,至今没有音讯。
如果不能在研发和产品上有所突破,威马即便能上市,融再多的钱,也白搭。
最近一个月,威马仿佛进入“休克”状态。每个月的销量不公布,新车不上市,部分城市门店不开张、售后不作为,就连400热线都难以联系上人工客服。
一位威马EX5车主对深燃说,从2月初开始,威马APP就无法连接汽车,他之前的销售和售后都失联了,厂家也联系不上。有人购买威马W6一个月出现零件问题,在质保期间停在4S店一个月未修理,什么时候修好也没有答复,因为厂家一直不发配件没法修。
一些被拖欠货款的供应商,已经停止向威马汽车供应零部件。威马的物流合作商安吉智行物流、重庆长安民生物流,先后起诉威马汽车,案件都已在2月开庭。其中,安吉智行物流申请冻结威马汽车7653万元资产。威马汽车的零部件从生产到运输,都面临断供风险。

一位前年还对威马赞不绝口的W6车主,现在感觉很迷茫。“担心公司面临倒闭。”他对深燃说。
对于用户的吐槽、合作商的“倒戈”、投资人的质疑,威马并没有公开表态。自从去年下半年提交上市招股书后,威马就开始习惯性“静默”。
威马对外最近的一次公开回应是在2月17日,对“威马汽车财务部门擅自立项”、“企业靠黄牛刷单的千万级项目”、“公司管理层为自己项目开绿灯”三项传言做出了澄清。
威马在声明中说,相关信息“对公司品牌、声誉及企业管理层个人名誉造成严重影响”。公司已经发出律师函。
而对于产品质量、售后服务、新车交付等用户关切的疑问,威马并没有提及。或许,对于现在的威马来说,能救自己的只有上市,其他都是空谈。与上市无关的,都要靠边站。
那么这次借壳上市能给威马带来什么呢?
根据Apollo出行与威马达成的协议,Apollo出行计划发行股份收购威马汽车,对应代价为20.23亿美元。不过要注意的是,这只是一个账面数字,威马并不会从这笔交易中拿到钱,它拿到的是Apollo出行的股份——通过反向收购实现间接上市。
所以,借壳上市并没有解决威马的资金难题。但是,威马获得了Apollo出行的“壳”,而这个“壳”有资格在资本市场发行股份融资。Apollo出行公告称,拟额外向不少于6名对象定向增发股份,募集资金净额约为35.26亿港元。这其中有大约7亿港元会用来给威马还债。
这笔新融资能达成的前提,是威马不仅要找到愿意接盘的投资人,还要通过2022年财报的尽职调查,Apollo出行还要作为新上市申请人,通过港交所上市委员会的批准。这三项中的任何一项失败,融资就会打水漂。
现在,威马的运营资金已经很紧张。威马的应对之策是大幅缩减成本,对内降薪裁员、缩减运营成本,对外不扩张、不合作。
去年11月威马已经进行了一波整体降薪,管理层薪资对半砍,普通员工降薪30%,并停发年终奖和购车补贴。现在正在酝酿新一波降薪。
沈晖在2月初发布的《威马家书》中说,要降本增效,进一步梳理和优化组织架构,精益运营体系、提升运营模式以及管理流程,同时要科学合理定价,改善盈利结构。
今年以来,随着特斯拉发起价格战,很多车企都在跟进降价,威马却逆势涨价。有人评价:“与其卖一辆亏一辆,倒不如涨价不卖了,公司先活下来再说。”
威马还能活多久尚未可知,更重要的是以什么方式活下去。
有一种观点认为,威马或进行转型,为其他车企代工。
这并非空穴来风。沈晖用“大变革”来概括2023年威马整体的战略,其中第一条就是开放合作,“公司的研发能力和量产能力,将全面对外开放”,率先打破“同行是冤家”的桎梏与成见。

威马现在有两座整车工厂,浙江温州和湖北黄冈的工厂都有电动乘用车生产牌照,湖北工厂还有燃油车生产牌照。两座工厂的最大年产能为25万辆。在生产牌照如此稀缺的当下,转型代工,充分发挥工厂的产能利用率,也不失为一种自救方式。
如今威马面临的危机,跟蔚来2019年缺钱、小鹏2022年缺管理、自游家缺生产资质不同,它是全方位的,各个环节相互依赖,一环扣一环。威马要彻底脱困,不仅要有壮士断腕的决心,还要有白衣骑士救援,更需要在产品和服务上彻底改进。
从“威马”到“危马”,虽只有一字之差,但这背后的艰辛和无奈,只有亲历者才会懂。
应受访者要求,徐凯通为化名。