作者:admin 发布时间:2023-02-07 00:10:11 分类:头条 浏览:339 评论:0
来源:北证资讯
保丽洁今天正式上市,成为北交所第168家上市公司,其上市首日表现出色,收盘大涨30%,市值为6.37亿元。近期北交所新股受到追捧,今年以来上市的6只新股多数在上市首日暴涨,目前仅1只破发,破发率不到17%。
“得益于近期新股欧福蛋业、天宏锂电、乐创技术和次新股凯华材料、康普化学等共同营造的热闹炒作氛围和较强赚钱效应,让投资者和资金又一次聚焦于新股,市场情绪造就了一段新股蜜月期。”资深新三板评论人、北京南山投资创始人周运南说。
保丽洁正式登陆北交所
保丽洁本次公开发行股票955.07万股,发行后总股本6165.07万股,发行价格为7.95元,新股募集资金总额7592.81万元,主要用于油烟净化设备生产建设项目、营销网络建设项目、补充流动资金。

周运南认为,保丽洁今天直接以13.84%的涨幅高开后高走,最高涨32.08%,收涨30.06%,换手率45.97%,整体表现高于市场预期,“结合其4.15%的打新配售率,其收盘的打新收益率高达1.25%,这非常乐观了。”
北交所的资料显示,保丽洁的主营业务为静电式油烟废气治理设备的研发、生产与销售,主要产品包括静电式商用油烟净化设备、静电式工业油烟净化设备。公司自成立以来,一直专注于研发、制造和应用高效、稳定、安全的静电式油烟废气治理设备,并以此为基础为商业综合体、连锁及社会餐饮、酒店、学校、企事业单位食堂等餐饮行业用户,以及纺织印染、化纤、PVC、橡塑材料制造等工业用户提供油烟废气治理设备。经过多年的业务发展及经营积累,公司的静电式油烟废气治理设备已形成一定品牌知名度,具有较强的市场竞争力,是行业内较为领先的静电式油烟废气治理设备制造商。公司本次公开发行成功引入张家港市锦信资本投资管理有限公司、张家港市金科创业投资有限公司、张家港产业投资管理有限公司等5名战略投资者。
据介绍,作为油烟净化设备行业内领军企业之一,保丽洁与国内500强企业、多家上市公司维持长期合作关系。商用油烟净化设备受到麦当劳、汉堡王、太二酸菜鱼、探鱼、巴奴毛肚火锅等众多知名餐饮终端以及南京南站、腾讯滨海大厦、京东大厦等众多知名商业综合体客户的认可。此外,公司凭借工业油烟净化设备良好的产品品质与较强的市场竞争力,与恒逸集团、东方盛虹、骏马化纤等多家行业内知名厂商建立并保持着长期稳定合作关系。
业绩方面,2019年至2021年及2022年上半年,保丽洁的营业收入分别为2.29亿元、1.82亿元、1.95亿元、7892.03万元,净利润分别为5854.39万元、4657.73万元、3761.17万元、1270.95万元。
新股蜜月期仍在延续
经过兔年伊始的一轮暴涨之后,北交所市场总体进入回调之中,不过其新股市场仍然延续蜜月。
Wind的统计显示,今年以来总共有6只新股上市,多只在上市首日暴涨。除保丽洁今天大涨30%外,欧福蛋业在1月18日上市首日即飙涨69.6%,天宏锂电、田野股份分别于1月19日、2月2日上市,在上市当日涨幅也均超过20%。目前这6只新股中,仅迅安科技处于破发状态,天宏锂电目前股价较发行价已经翻倍,欧福蛋业股价较发行价的涨幅也达到68%。
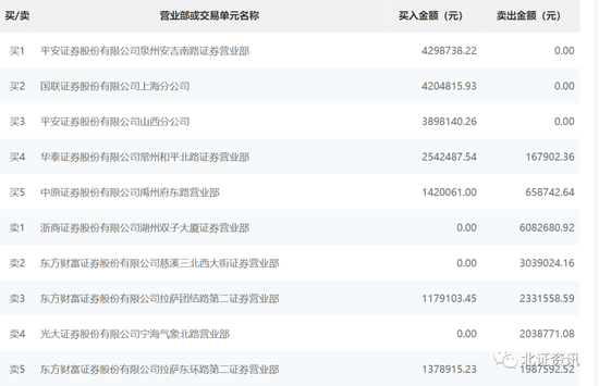
公开信息显示,今天天宏锂电因换手率达到29.74%而登上龙虎榜,成交金额为1.07亿元。从龙虎榜数据来看,该股表现活跃主要是游资在博弈。平安证券泉州安吉南路证券营业部、国联证券上海分公司均买入超过400万元;浙商证券湖州双子大厦证券营业部作为卖一,抛售了608万元。“拉萨天团”也参与其中,东方财富拉萨团结路第二证券营业部买入118万元同时卖出233万元;东方财富拉萨东环路第二证券营业部吸纳了138万元,同时抛出199万元。

兔年开市以来,北交所上市委尚未举行审议会议,也未有新增受理来自新三板公司的北交所上市申请。不过,新三板企业奔赴北交所上市的热情仍在升温,近期多家公司公布启动北交所上市辅导,包括迅维股份、小棉袄、湖北兴欣、中裕广恒等。
其中,中裕广恒于今天公告,已向河南证监局报送了公司向不特定合格投资者公开发行股票并在北交所上市辅导备案申请材料,辅导机构为长江保荐。

中裕广恒是一家专业从事智慧城市研发、建设及运营于一体的高新技术企业,主要从事智慧城市研发、安防监控、工业互联网、智能物联网、智能交通、智能城管、智慧教育、智慧文旅等业务。2022年10月31日,郑州市工业和信息化局认定该企业为郑州市人工智能标杆企业。
2月1日全面注册制改革启动,其中,新三板注册制改革优化挂牌准入制度,突出对企业创新的精准包容。开源证券认为,新三板新挂牌多套指标精确衔接北交所上市条件,有利于推动直接融资高质量发展。开源证券同时表示,全面注册制改革下,北交所估值折价有望得到优化。
开源证券认为,之前北交所上市公司相对于沪深上市公司存在一定估值折价,其中一个因素是北交所较早全面实施了注册制。本次改革将注册制度进行统一,整合了上交所、深交所试点注册制制度规则,制定统一的首次公开发行股票注册管理办法和上市公司证券发行注册管理办法,北交所注册制制度规则与上交所、深交所总体保持一致。随着本次全面注册制改革,各板块制度趋于统一,北交所估值折价问题有望得到优化。